三年成全免费高清观看电视剧影视大全-三年大片高清影视大全-三年在线观看大全免费高清-三年中文在线观看免费大全电视剧!

用心打造裝飾行業管理軟件優秀品牌

裝企ERP管理軟件門店管理輕輕松松

裝修ERP管理軟件在解決裝修公司內部管理的同時,同時兼顧了針對門店和分公司的管理,門店的客戶信息及相關數據統計,店長都可根據自己的門店范圍進行單獨的統計。同時各個門店的銷售額及業績也能進行自動排名。同時通過門店管理增加了B2B商城小程序在線下單的功能。

價格表

門店管理下我們新增了一個模塊B2B商城,通過B2B商城管理實現了微信小程序直接在線下單,材料零售發貨均可通過手機端一鍵完成。商城與ERP完成對接,通過電腦PC端進行產品的維護,同時針對產品的定價可根據不同分級的經銷商設定不同的定價標準。

門店管理軟件

商城廣告

商品促銷推廣、活動推廣均可通過電腦PC端進行維護,手機端可直接滾動播放,增加產品曝光率。

裝企ERP管理軟件

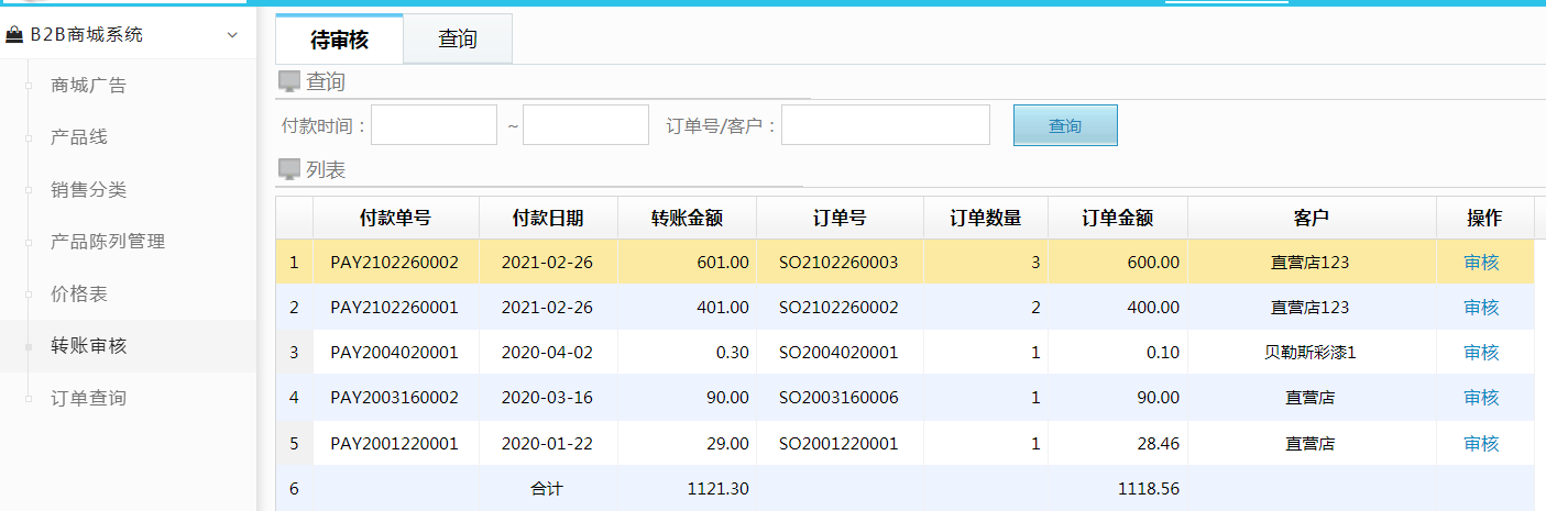
轉賬審核

轉賬審核是商城產品銷售,線下付款或是轉賬支付的審批流程,轉賬憑證的上傳一方面是方便整理收款單據的資料統計,另一方面通過轉賬審批關聯發貨環節。實現線上下單派送為一體,全程無紙化辦公智能化辦公的新型辦公模式。

image.png

訂單查詢

訂單查詢將訂單不同狀態進行統一管理,我們可根據不同的狀態及時間節點精準查詢訂單詳情。

image.png

B2B商城的上線解決了門店線上銷售的難題,經銷商采購、在線下單、發貨等一系列管理流程均可通過ERP來在線管理,每一個環節有條不紊的進行自動關聯庫存。美佳云裝每一次的進步都是為您提供更優質的用戶體驗和功能更齊全的產品。如果您有需要隨時聯系我們。

客服
QQ
電話
咨詢電話:400-080-9923
TOP